Учёные НИУ «БелГУ» разработали устройство для оценки интенсивности дыхания микробной культуры

Сегодня в хозяйственной деятельности и ряде научных отраслей широко применяется метод поверхностного культивирования микробной культуры - когда орг

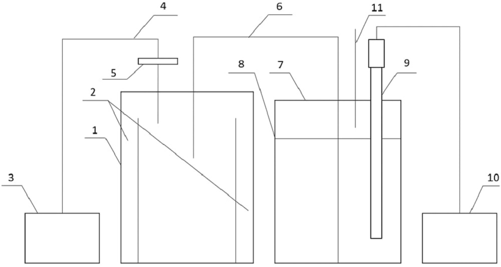
Изобретение может быть полезным в сельском хозяйстве и экомониторинге

Сегодня в хозяйственной деятельности и ряде научных отраслей широко применяется метод поверхностного культивирования микробной культуры - когда организмы искусственно выращивают на поверхности питательной среды для изучения их свойств. Такой подход помогает в дальнейшем использовать эти свойства в диагностике заболеваний, анализе микрофлоры различных объектов (пищевых продуктов, воды, воздуха), выращивании полезных микроорганизмов (заквасок, фермента, белка), а также утилизации ряда твердых отходов производств.

Однако, чтобы использовать этот метод в биотехнологии, микробиологии, агрохимии, требуется инструмент оценки роста популяции микроорганизмов.

По словам профессора кафедры биотехнологии и микробиологии НИУ «БелГУ», доктор биологических наук Инны Соляниковой , в процессе дыхания микроорганизмы выделяют углекислый газ, интенсивность его выделения напрямую отражает рост микробной культуры в аэробных (где присутствует кислород) условиях. Измерение объема углекислого газа может дать ценную информацию о том, как проходит культивирование. Поэтому необходим контроль над процессом, а также исследование различных факторов, влияющих на микробную культуру.

В настоящее время имеются датчики измерения концентрации углекислого газа зарубежного производства, однако они отличаются риском заражения микробной культуры, сложностью и длительностью исполнения. Предложенное учёными НИУ «БелГУ» устройство можно применять в любой испытательной лаборатории с использованием слабого раствора щелочи и рН метра. Это значительно упрощает проектирование и проведение испытаний.

- Разработанное нами устройство контролирует рост микробной культуры при поверхностном культивировании, не требуя отбора культуральной жидкости. Оно просто в использовании и сводит к минимуму риск заражения микробной культуры , - говорит Инна Соляникова.

Как поясняет аспирант кафедры биотехнологии и микробиологии НИУ «БелГУ» Никита Ляховченко , разработка позволит получать информацию о культуре микроорганизмов в заданных условиях, что поможет получить необходимые биологически активные вещества на основе бактерий.

- В устройстве используется исходящий воздух как источник информации о ходе процесса. Все компоненты легко заменяемы и воспроизводимы. Применяемые специальные электроды для определенных газов помогут определить, насколько подобраны условия для жизнедеятельности микроба , - рассказывает Никита Ляховченко .

Изобретение выполнено в рамках госзадания (Адаптивные реакции микроорганизмов: теоретические аспекты).

  информация предоставлена центром научной коммуникации и выставочной деятельности

Последние новости

Где применяются частотные преобразователи: от промышленности до бытовой техники

Узнайте, как устройства управления электродвигателями делают нашу жизнь удобнее и эффективнее

Главу «Русагро» Мошковича обвинили в ущербе на 30 миллиардов рублей

Мошкович и Басов убедили основателя компании «Солнечные продукты» Владислава Бурова продать 85 процентов акций холдинга под предлогом обещанных инвестиций, которые так и не последовали.

Опрос «Фонаря»: белгородцы охотнее сообщат полицейским о жестоком обращении с животными, но умолчат об уклонении от военной службы

Согласно опросу, есть ситуации, о которых белгородцы охотно сообщат правоохранителям, в то время как о других не расскажут ни чиновникам, ни полиции.

Герои‑невидимки: 10 мест, где вы сталкиваетесь со стойками СОН ежедневно

Железобетонные стойки СОН окружают нас повсюду — даже если мы не знаем, что это они

Здесь вы можете узнать о лучших предложениях и выгодных условиях, чтобы купить квартиру в Алексине

Комментарии (0)

Добавить комментарий

Ваш email не публикуется. Обязательные поля отмечены *